Сантехника Отопление Кондиционирование

Обвязка навесного конденсационного котла повышенной мощности

43531 1
Опубликовано в журнале СОК №9 | 2007

Для быстрого и качественного монтажа отопительной установки на базе конденсационного котла повышенной мощности предлагается ряд принадлежностей и аксессуаров. Рассмотрим на примере, как осуществляется подключение конденсационного котла повышенной мощности.

Рис. 1. Схема подключения конденсационного котла

Рис. 1. Схема подключения конденсационного котла

Рис. 2. Схема электроподключения группы безопасности

Рис. 2. Схема электроподключения группы безопасности

Рис. 3. Схема движения теплоносителя в накопительном бойлере

Рис. 3. Схема движения теплоносителя в накопительном бойлере

Рис. 4. Схема подключения накопительного бойлера к конденсационному котлу

Рис. 4. Схема подключения накопительного бойлера к конденсационному котлу

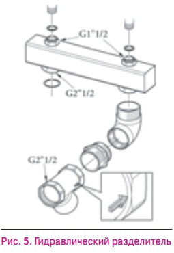
Рис. 5. Гидравлический разделитель

Рис. 5. Гидравлический разделитель

Условно схему монтажа (в качестве примера мы рассматриваем котел Victrix 50) можно разделить на несколько этапов подключения:

  • комплекта безопасности;
  • накопительного бойлера;
  • солнечного коллектора;
  • гидравлического разделителя.

Подробно рассмотрим каждый этап.

Комплект безопасности

При подключении котла мощностью более 35 кВт европейское законодательство обязывает уделять более пристальное внимание вопросам обеспечения безопасности. Поэтому предусматривается специальный комплект безопасности, который включает в себя термостат безопасности, реле максимального давления воды (4 бар), манометр и кран заполнения системы (гильза для подключения термобаллона отсечного газового крана).

Предусмотрены также штуцеры для подключения расширительного бака и гильза погружного спиртового термометра. Прессостат и термостат перегрева имеют ручную разблокировку и подключаются последовательно в цепь питания котла (рис. 2). Предел срабатывания предохранительных устройств настраивается и составляет 3 бар и 105 °С соответственно. Данный комплект позволяет произвести компактный, быстрый и надежный монтаж предохранительных устройств, а также гарантирует надежную защиту от аварийных ситуаций при любых обстоятельствах.

Накопительный бойлер

Поскольку котлы одноконтурные, то для удовлетворения потребностей в горячей воде предлагается использовать бойлер накопительного типа. Предлагаются несколько типоразмеров бойлеров, емкостью от 80 до 200 л. Бойлеры имеют прямоугольный корпус белого цвета. Материал изготовления корпуса и змеевика бойлера — пищевая нержавеющая сталь высокого качества. Для снижения тепловых потерь бойлер заключен в высокоэффективную пенополиуретановую изоляцию.

Бойлеры снабжены спиральными теплообменниками с большой поверхностью теплообмена, которые подключены по схеме противотока (рис. 3). Это позволяет быстро нагревать накопленный запас воды. Чтобы обеспечить приготовление большого объема горячей воды, можно использовать два бойлера объемом 200 л, в которых контуры теплоносителя и санитарной воды подключаются параллельно. Для подключения бойлера к котлу необходимо использовать специальный комплект, который состоит из переходников и трехходового клапана. Как и во всех других навесных котлах, работа в режиме горячего водоснабжения основывается на принципе жесткого приоритета ГВС.

Подключение солнечных коллекторов

Особенностью 200-литровых бойлеров является возможность их работы с солнечными коллекторами. На рис. 4 показан пример подключения солнечных коллекторов к системе теплоснабжения на основе конденсационного котла. Высококачественные солнечные коллекторы и согласованная с ними система теплоснабжения дома позволяют рассматривать хозяйственное использование солнечной энергии уже как необходимое условие построения эффективной системы.

В наших широтах суммарное излучение (отраженное и прямое) в оптимальных условиях (безоблачное ясное небо, середина дня) составляет максимум 1000 Вт/м2. Солнечные коллекторы, в зависимости от их типа, позволяют использовать до 75 % суммарного излучения. Остается только отметить, что с нашей точки зрения связка конденсационный котел + солнечный коллектор (тепловой насос)— наиболее перспективное направление дальнейшего развития систем автономного теплоснабжения.

Гидравлический разделитель

Поскольку котел рассчитан на выполнение значительной тепловой нагрузки, то это предполагает наличие отдельных контуров системы отопления с зональным контролем. Поэтому актуальным становится вопрос независимого регулирования контуров. Возникает вероятность изменения количества теплоносителя, циркулирующего через котел, что неблагоприятно сказывается на его гидравлическом режиме.

Естественным решением в данной ситуации служит применение гидравлического разделителя (гидравлической стрелки). Одновременно выполняется переход на трубы большего диаметра, что позволяет подключить «гидравлическую стрелку» непосредственно к подающему и обратному распределительным коллекторам. Для одного котла предлагается компактный вариант решения данного узла, в виде трубы прямоугольного сечения (рис. 5).

Этот узел располагается непосредственно под котлом, что позволяет значительно сократить габариты установки. Так как коллектор установлен горизонтально, то для удаления шлама из системы отопления обязательна установка осадочного фильтра на обратной магистрали, перед коллектором.

Комментарии
  • 12-03-2012

    виктор

    схемы навесного котла

    Комментарий полезен?
    1 из 1 пользователей считают этот комментарий полезным
Добавить комментарий

Ваше имя *

Ваш E-mail *

Текст комментария