Рис. 1. Схема автоклавной ячейки для проведения высокотемпературных коррозионных испытаний
Рис. 2. Автоклавная ячейка для проведения коррозионных испытаний при повышенных температурах
Рис. 3. Степень защиты от коррозии в воде с малой жесткостью
Рис. 4. Степень защиты от коррозии в воде с высокой жесткостью
Рис. 5. Степень защиты от солеотложений в воде с низкой жесткостью
Рис. 6. Степень защиты от солеотложений в воде с высокой жесткостью
Табл. 1. Основные показатели качества цинкофосфонатных ингибиторов солеотложений и коррозии
Табл. 2. Составы и свойства модельных растворов для испытания ингибиторов
Табл. 3. Условия проведения опытов
Табл. 4. Химический состав стали ВСт3сп
Широкое применение в качестве ингибиторов солеотложений получили оксиэтилидендифосфоновая кислота (ОЭДФ) CH3C(OH)(PO3H2)2, нитрилотриметилфосфоновая кислота (НТФ) N(CH2PO3H2)3, а также их натриевые, калиевые и аммонийные соли. Наибольшей эффективностью в качестве ингибиторов коррозии обладают комплексы указанных кислот с цинком. Высокая эффективность фосфонатоцинкатных ингибиторов коррозии отмечена еще Кузнецовым и др. [7–9] и подтверждена специалистами ВТИ [10].
Составы композиций указанных кислот с цинком и способы их получения изобретены А.П. Ковальчуком с соавторами и защищены патентами [11, 12].В настоящее время в России фосфонатоцинкатные ингибиторы коррозии выпускаются целым рядом предприятий. Ведущим предприятием по выпуску цинковых комплексов органофосфоновых кислот и внедрению фосфонатной обработки воды является ООО «Экоэнерго» (г. РостовнаДону).
Этим предприятием выпускаются ингибиторы солеотложений и коррозии «Оптион313» (Option313) и «Эктоскейл450» (Ektoscale450), действующим началом которых являются, соответственно, оксиэтилидендифосфонатоцинкат и нитрилотриметилфосфонатоцинкат натрия. Отметим, что каждый из этих препаратов выпускается как в виде водного раствора, так и в виде порошка, содержащего 92–97 % основного вещества.
Крупнейший производитель органофосфоновых кислот — ОАО «Химпром» (г. Новочебоксарск) выпускает препарат «АФОН 23023А», представляющий собой, в основном, водный раствор оксиэтилидендифосфонатоцинката натрия. Кроме этого, водные растворы оксиэтилидендифосфонатоцинката натрия в качестве ингибиторов солеотложений и коррозии производят ООО НПФ«Траверс» (г. Москва) и ВОАО «Химпром» (г. Волгоград).
Основные показатели качества выпускаемых в РФ фосфонато-цинкатных ингибиторов приведены в табл. 1. Помимо показателей качества товарных препаратов, в табл. 1 приведены также свойства химически индивидуальных комплексов ОЭДФ и НТФ с цинком. Различные производители используют различные технологические процессы получения ингибиторов. Поэтому препараты отличаются друг от друга формой выпуска (водный раствор или порошок), химическим составом и, следовательно, эксплуатационными качествами.
Информация, распространяемая различными производителями о своих продуктах, не всегда объективна и достоверна. Тому есть две причины. Во-первых, конкуренция заставляет производителей распространять о своих продуктах информацию рекламного характера. Во-вторых, нормативная документация различных предприятий-производителей может предусматривать отличные друг от друга условия испытаний.
В результате фактические показатели эффективности применения конкретного ингибитора в конкретных условиях часто отличаются от заявляемых. Из-за этого у потребителей складывается отрицательное мнение об эффективности всех ингибиторов коррозии и солеотложений. Достоверные сведения об эффективности ингибиторов коррозии и солеотложений, выпускаемых различными предприятиями, можно получить только путем сравнительных испытаний эффективности этих препаратов в сопоставимых условиях при контроле воспроизводимости экспериментальных данных.
В данной работе были испытаны в лабораторных условиях пять ингибиторов коррозии и солеотложений, в которых основным действующим веществом являются комплексы ОЭДФ или НТФ с цинком. Из табл. 1 можно видеть, что из всех выпускаемых ингибиторов по своему стехиометрическому составу наиболее близки к химически индивидуальным веществам препараты «Оптион313» и «Эктоскейл450».
Испытание указанных препаратов представляло наибольший интерес, так как позволяло оценить ингибирующие свойства практически индивидуальных комплексов, свободных от примесей. Для исследования были взяты препараты в виде порошков (товарные марки «Оптион3132» и «Эктоскейл4502»), как наиболее чистые вещества. Все остальные препараты, взятые для испытаний, представляли собой водные растворы.
Образец препарата «ZnОЭДФ», выпускаемого ООО НПФ «Траверс», имеет вид прозрачной жидкости желтоватого цвета без запаха, сладко-соленой на вкус. При отстаивании и фильтровании образца препарата образования какого-либо осадка не замечено. Цинковый комплекс ОЭДФ производства ВОАО «Химпром» (г. Волгоград) — слегка мутноватой жидкости зеленовато-желтого цвета со слабым запахом, солоноватого вкуса.
При фильтровании препарата на фильтре осталось незначительное количество желтоватого осадка. Препарат «АФОН 23023А», отобранный на котельной из заводской упаковки, имеет вид мутной жидкости желто-зеленого цвета со слабым запахом, сладкой на вкус. При отборе пробы отмечено наличие на дне заводской упаковки слоя осадка белого цвета толщиной около 1 см, что может свидетельствовать о частичном разложении продукта во время транспортирования и хранения.
При фильтровании образца на фильтре остался обильный желтовато-белый хлопьевидный осадок. Для проведения испытаний в стандартных условиях были приготовлены два раствора, моделирующих различные распространенные типы природных вод. Составы растворов в соответствии с ГОСТ 9.502–82 приведены в табл. 2. Раствор №1 моделирует мягкую умеренно коррозионную воду поверхностных источников, а раствор №2 — жесткую коррозионную артезианскую воду.
Опыты проводили при различных концентрациях каждого из ингибиторов и при различных температурах в каждом из двух модельных растворов (табл. 3). В испытаниях при температуре 75 °С моделировали поведение ингибиторов в системах горячего водоснабжения. В связи с этим были выбраны два значения концентрации: равное предельно допустимой концентрации (ПДК) данного ингибитора в питьевой воде и 3 мг/дм3, приблизительно равное половине ПДК для большинства ингибиторов.
В испытаниях при 150 °С моделировали режимы систем теплоснабжения. Поэтому для проведения опытов при температуре 150 °С в модельном растворе №2 была выбрана иная шкала концентраций ингибиторов, нежели в остальных экспериментах. Это объясняется тем, что данный температурный и концентрационный режим характерен для закрытых тепловых сетей с подпиткой жесткой водой из артезианских источников.
Для таких тепловых сетей значение ПДК ингибитора не имеет существенного значения, кроме того, дозировка ингибитора в воду с высокой жесткостью при высокой температуре должна быть значительно больше, чем в иных условиях, чтобы можно было достоверно наблюдать и количественно регистрировать эффект ингибирования.
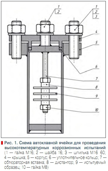
Для проведения коррозионных испытаний в водных средах при повышенных температурах, в условиях, максимально приближенных к условиям работы тепловых сетей, разработана конструкция герметизированной высокотемпературной коррозионной автоклавной ячейки, способной длительно выдерживать внутреннее давление без утечки исследуемой среды. Конструкция автоклавной ячейки схематически показана на рис. 1.
За основу при конструировании автоклавной ячейки принята конструкция испытательных сборок для оценки интенсивности внутренней коррозии в тепловых сетях по РД 15334.117.465–00. В оригинальном варианте, предложенном специалистами ОАО «Всероссийский теплотехнический институт» [13], герметизация соединения достигается соединением фланцев, между которыми располагается прокладка из эластичного материала (предпочтительно, паронита).
Однако опыт эксплуатации фланцевых соединений показывает, что при продолжительной эксплуатации в условиях повышенной температуры паронит утрачивает эластичность и при повторной сборке-разборке ячейки не обеспечивает герметичности. Поэтому для повышения герметичности ячейки и предотвращения утечки среды в процессе испытаний при конструировании выбрана обтюраторная схема уплотнения ячейки.
Для обеспечения химической стойкости и долговечности автоклавных ячеек, а также для предотвращения загрязнения экспериментальных сред продуктами химического взаимодействия с материалом ячеек, все детали ячеек, контактирующие с коррозионной средой, были изготовлены из нержавеющей стали аустенитного класса марки 12Х18Н10Т. Корпуса ячеек были изготовлены путем полуавтоматической электродуговой сварки в среде защитных газов (аргона).
После сварки ячейки были подвергнуты дефектоскопии сварных швов методом просвечивания. Массивные детали (фланец корпуса и крышка), не имеющие контакта с коррозионной средой, были изготовлены из качественной углеродистой стали марки 20. Внешний вид автоклавной ячейки, изготовленной по представленной схеме и чертежам, показан на рис. 2.Для коррозионных испытаний были изготовлены образцы из горячекатаной листовой стали марки ВСт.3сп по ГОСТ 380–94, ГОСТ 19903–74.
Химический состав стали для изготовления образцов приведен в табл. 4. Образцы представляют собой стальные круглые пластины толщиной 2–3 мм, наружным диаметром 40 мм с отверстием в центре диска 12 мм. Пластины подготовили в соответствии с ГОСТ 9.502–82, ГОСТ 9.506–87. Заготовки для пластин нарезали из листа стали одной партии, отступив по 100 мм от каждого края листа.
Просверлив отверстия диаметром 12 мм, образцы собрали в пакеты на оправках и обработали на токарном станке до заданного наружного диаметра. Обработанные пластины подвергли шлифовке на плоскошлифовальном станке до чистоты поверхности Rz от 8 до 12 мкм. С одной стороны каждой пластины на ее поверхность методом холодного клеймения нанесли порядковые номера. После механической обработки образцы металла обезжирили, промывая этиловым спиртом при помощи щетки, и просушили от спирта.
Поверхность образцов подвергли активации путем травления в 15 % соляной кислоте в течение 1 мин. Активированные образцы трижды промыли дистиллированной водой, осушили фильтровальной бумагой, подвергли сушке при температуре 100±5 °С в течение 1 ч и охладили в эксикаторе над прокаленным хлористым кальцием. Каждый образец взвешивали на аналитических весах с точностью до 0,0001 г, фиксируя его массу в лабораторном журнале.
Взвешивание образцов повторяли ежедневно до тех пор, пока расхождение между последовательными значениями массы одного и того же образца не будет менее 0,0002 г (в дальнейшем — «взвешивание до постоянной массы»). Достигнутое постоянное значение массы принимали за начальную массу m1 образца. Подготовленные образцы закрепляли на штоке-держателе автоклавной ячейки в количестве 3 шт.
Для изолирования образцов от штока последний снабжали изолирующей оболочкой из кремнийорганического термостойкого каучука, а для изолирования образцов друг от друга и обеспечения беспрепятственного контакта со средой на шток между образцами и зажимными гайками надевали 10миллиметровые шайбы-дистанторы из того же материала. Собранный пакет погружали в ячейку, предварительно заполненную избранным для испытаний модельным раствором, в который при помощи пипетки вводили заданное количество ингибитора.
Убедившись, что вставка-обтюратор плотно лежит на фиксирующем уступе внутренней стенки автоклавной ячейки, в кольцевой паз между вставкой-обтюратором и внутренней стенкой корпуса укладывали уплотнительное кольцо из термостойкой резины. Затем на вставку устанавливали крышку таким образом, чтобы фасонный выступ крышки вошел в кольцевой паз между вставкой-обтюратором и внутренней стенкой корпуса.
Убедившись, что кольцевой выступ крышки плотно прилегает к уплотнительному кольцу и не заедает в кольцевом пазу, крышку фиксировали четырьмя гайками, навинчиваемыми на шпильки. Закрытую автоклавную ячейку с помещенными в нее образцами и раствором выдерживали в термостате в течение 10 суток при заданной с погрешностью не более ±5 °С. Испытания проводились в статических условиях, без принудительной циркуляции коррозионной среды.
После выдержки в течение 10 суток автоклавную ячейку извлекали из термостата и охлаждали до комнатной температуры. Осторожно извлекали вставку-обтюратор со штоком держателем образцов и снимали образцы. Визуальный осмотр образцов проводили по ГОСТ 9.909–86.Рыхлые коррозионно-солевые отложения, слабо связанные с поверхностью образцов, снимали шпателем и переносили в бюкс для высушивания и исследования. Образцы слегка ополаскивали дистиллированной водой, сушили при температуре 100±5 °С в течение 1 ч и помещали для охлаждения в эксикатор с предварительно прокаленным хлористым кальцием.
Каждый образец взвешивают на аналитических весах с точностью до 0,0001 г до постоянной массы m2.После этого приступали к удалению отложений. Продукты коррозии счищали с поверхности образцов деревянным или фарфоровым шпателем, а при сильном сцеплении — скальпелем. Образцы выдерживали в течение 10 мин при комнатной температуре в растворе, содержащем серную и лимонную кислоту, а также тиомочевину.
Затем образцы промывали водой, одновременно очищая их поверхности мягкой резинкой до полного удаления коррозионных отложений. Очищенные образцы промывали дистиллированной водой, осушивали фильтровальной бумагой, обезжиривали ватным тампоном, смоченным в спирте, сушили при 105 °С в течение 1 ч, после чего охлаждали до комнатной температуры в эксикаторе над прокаленным хлористым кальцием. Каждый образец взвешивали на аналитических весах с точностью до 0,0001 г, до постоянной массы m3.
Критериями оценки коррозионного поведения металла являются: изменение внешнего вида; размеры очагов коррозии; количество очагов коррозии на единицу площади. Скорость образования отложений [кг/м2/год] рассчитывают по формуле:

где m′ — масса рыхлых отложений, содержащихся в боксе, после высушивания [г]; S — площадь поверхности образца, контактирующей с теплоносителем [см2]; t — время испытаний [час].Скорость общей коррозии каждого образца (предполагая ее равномерной) [мм/год] рассчитывают по формуле:

Среднюю скорость коррозии образцов в автоклавной ячейке V_кор рассчитывают как среднее арифметическое значений скорости коррозии Vкор,i для каждого образца. Рассчитывают относительное отклонение скорости коррозии каждого образца от средней скорости коррозии в ячейке, в процентах, по формуле:

где Vкор,i — скорость коррозии по данному образцу; V_кор — средняя скорость коррозии по ячейке. Если относительное отклонение скорости коррозии одного из образцов превышает 60 % значения средней скорости коррозии в ячейке, то это указывает на недостаточную воспроизводимость экспериментальных данных.В этом случае эксперимент полностью повторяли со всеми образцами, предварительно отшлифовав их до исходного состояния. Степень защиты от коррозии Zкор в процентах рассчитывают по формуле:

где V_∗кор — средняя скорость коррозии в ячейке с коррозионной средой без добавки ингибитора (в холостом опыте) [мм/год]; V_кор — средняя скорость коррозии в ячейке с коррозионной средой с добавкой ингибитора [мм/год].Для определения щелочности раствора, извлеченного из автоклавной ячейки, использовалась стандартная методика определения щелочности, утвержденная Пермским государственным научно-исследовательским и проектным институтом нефтяной промышленности ПермНИПИнефть Министерства нефтяной промышленности СССР.
Для определения кальциевой жесткости раствора использовалась стандартная методика определения кальциевой жесткости в присутствии продуктов коррозии и других мешающих примесей, также утвержденная ПермНИПИнефть. Определение основано на осаждении мешающих примесей перманганатом калия и аммиаком с последующим определением кальция титрованием «Трилоном Б» в присутствии индикатора — мурексида. Относительную нестабильность водной среды в автоклавной ячейке определяют по формуле:

где ЖCa,0 — кальциевая жесткость модельного раствора, определяемая по данной методике перед началом эксперимента [мг÷экв/дм3]; ЖCa — кальциевая жесткость водной среды в ячейке по завершении коррозионного испытания [мг÷экв/дм3]. Степень защиты от солеотложений в процентах рассчитывают по формуле:

где I∗ — относительная нестабильность водной среды без добавки ингибитора (в холостом опыте); I — относительная нестабильность водной среды с добавкой ингибитора. Результаты экспериментов по определению степени защиты от коррозии и степени защиты от солеотложений в двух модельных растворах при всех условиях, приведенных в табл. 3, для пяти исследованных ингибиторов, приведены на рис. 3–6.На рис. 3 приведены диаграммы, показывающие сопоставление степени защиты от коррозии для пяти различных ингибиторов в воде с малой жесткостью при различных значениях температуры и концентрации ингибитора.
Такие же диаграммы, показывающие степень защиты от коррозии тех же ингибиторов при тех же температурах и различных концентрациях, но в воде с высокой жесткостью, представлены на рис. 4. Погрешность численных данных, относящихся к значениям, составляет от 2,5 до 6 %.Визуальный осмотр поверхности образцов показал, что характер развития коррозионного процесса в отсутствии ингибитора и в присутствии различных ингибиторов различен.
В отсутствии ингибитора коррозионный процесс захватывает всю поверхность образца, кроме того, на этой равномерно корродированной поверхности отмечаются неглубокие язвы площадью от нескольких мм2 до нескольких сотен мм2, среднее число язв на 1 см2 поверхности образца на различных образцах различно и составляет от 0,3 до 4 язв/см2. В присутствии ингибиторов «АФОН 23023А» и «ЦинкОЭДФ» производства ВОАО «Химпром» (г. Волгоград) равномерный коррозионный процесс на поверхности образца оказывается в значительной степени подавлен.
Площадь язв также значительно уменьшается до величины 1–4 мм2, при среднем числе язв на 1 см2 поверхности образца 1–6 язв/см2.Однако при этом массовая скорость коррозии уменьшается не столь существенно, что свидетельствует об увеличении глубины язвенного поражения металла. Стимулирующее действие указанных препаратов на процесс язвенной коррозии является негативным фактором при эксплуатации трубопроводов тепловых сетей, так как срок службы трубопровода на практике лимитируется именно язвенными повреждениями.
В присутствии ингибитора «ZnОЭДФ» производства ООО НПФ «Траверс», а также ингибиторов «Оптион3132» и «Эктоскейл4502» подавляется как равномерная, так и язвенная коррозия. В присутствии этих ингибиторов отмечены лишь единичные язвы небольшой глубины на образцах, подвергнутых коррозии при концентрации ингибитора 3 мг/дм3. Площадь язв не превосходила 3–4 мм2, а их среднее число на 1 см2 поверхности образца не более 0,1 язвы/см2.
При концентрациях ингибиторов, равных ПДК, а также 10 и 20 мг/дм3, язвы на образцах не наблюдались. Отмечена незначительная равномерная коррозия. Причина различной эффективности ингибиторов была в значительной степени выявлена при исследовании образцов методом сканирующей электронной микроскопии с микрозондовым анализом. На корродированной поверхности металла наблюдаются обычные для развития коррозии в нейтральных средах повреждения металла, имеющие вид пирамид травления.
Частицы цинка, принадлежащие ингибитору, распределены по поверхности и наблюдаются при микрозондовом анализе. На поверхности образцов, подвергнутых испытаниям с ингибиторами «ZnОЭДФ» производства ООО НПФ «Траверс», а также «Оптион3132» и «Эктоскейл4502» производства ООО «Экоэнерго», частицы цинка распределены в основном равномерно, при этом они тяготеют к вершинам и ребрам пирамид травления.
Таким образом, можно утверждать, что осаждение защитной пленки поверхностных цинксодержащих комплексов в присутствии указанных ингибиторов происходит под влиянием протекающих коррозионных процессов и пространственно коррелирует с интенсивностью коррозии, что и предопределяет более высокую эффективность указанных ингибиторов.
При исследовании образцов, подвергавшихся коррозии в присутствии ингибиторов «АФОН 23023А» и «ЦинкОЭДФ» производства ВОАО «Химпром» (г. Волгоград) на поверхности обнаружены отдельные островки размером от нескольких микрометров до нескольких сотен микрометров, обогащенные цинком, при этом на остальной части поверхности образцов цинк практически не наблюдается.
Скорее всего, это свидетельствует о неконтролируемом выпадении осадка цинксодержащих соединений вследствие химической нестойкости и распада ингибитора, что подтверждается и наличием осадка в указанных товарных препаратах. Вследствие этого значительная часть поверхности образца оказывается незащищенной от коррозии. Диаграммы, изображающие степень защиты от солеотложений для пяти различных ингибиторов в воде с малой жесткостью при различных значениях температуры и концентрации ингибитора, представлены на рис. 5.
Можно отметить, что при невысокой жесткости водной среды все ингибиторы проявляют достаточно высокую эффективность. Вместе с тем, различия в эффективности также имеются, и эти различия следует учитывать на практике при выборе препарата. Аналогичные диаграммы, показывающие степень защиты от солеотложений для тех же ингибиторов при тех же температурах и различных концентрациях, но в воде с высокой жесткостью, изображены на рис. 6.
Можно отметить, что в жесткой воде различия в эффективности ингибиторов различных производителей оказываются значительно более существенными, чем в мягкой воде, особенно при высокой температуре. Так, препараты «ЦинкОЭДФ» производства ВОАО «Химпром» и «АФОН 23023А» в концентрациях 10 мг/дм3 при температуре 150 °С в растворе №2 показали степень защиты от солеотложений, соответственно, 73 и 37 %.
Эти значения явно недостаточны для эффективной защиты теплотехнического оборудования от солеотложений. Даже в концентрации 20 мг/дм3 при тех же условиях препарат «АФОН 23023А» показал эффективность лишь 55 %, что также неудовлетворительно. Эти результаты обусловлены, по-видимому, недостаточной стабильностью указанных ингибиторов в жесткой воде и при повышенной температуре.
Поэтому область применения ингибиторов «ЦинкОЭДФ» производства ВОАО «Химпром» и «АФОН 23023А» целесообразно ограничить невысокой жесткостью воды и низкими рабочими температурами. Следует отметить, что сведения о снижении эффективности фосфонатоцинкатных ингибиторов при повышенной температуре и высокой кальциевой жесткости воды встречались в литературе и ранее [14]. Однако не было выяснено, на какой ассортимент промышленно выпускаемых ингибиторов могут быть обобщены эти сведения.
Проведенные исследования позволяют заключить, что ингибиторы с составом, близким к стехиометрическому, выпускаемые ООО «Экоэнерго», обладают более высокой стабильностью и могут быть успешно использованы в более жестких условиях по сравнению со многими другими препаратами. В целом можно заключить, что в условиях данных испытаний наибольшей эффективностью ингибирования солеотложений и коррозии обладают ингибиторы «Оптион3132» и «Эктоскейл4502».
К ним близок по эффективности препарат «ZnОЭДФ» производства ООО НПФ «Траверс». Ингибитор «АФОН 23023А» в изученных условиях обладает недостаточно высокой эффективностью ингибирования солеотложений и низкой степенью защиты от коррозии. Скорее всего, это объясняется нестойкостью ингибитора при его транспортировании и хранении, вследствие чего из ингибитора выпадает осадок.
Поэтому образцы препарата «АФОН 23023А», отобранные непосредственно на выходе из производства ОАО «Химпром», могут показать в испытаниях более высокие ингибирующие свойства. Ингибитор «ЦинкОЭДФ» производства ВОАО «Химпром» (г. Волгоград) обладает средними показателями эффективности.